NOU...... REPARATII SI ACCESORIZARI RULOTE AUTORULOTE BRAILA......NOU

Incarcator baterii auxiliare de la alternator 25 sau 40A

Carbest
1.525,00 Lei

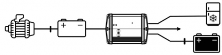
Amplificator de încărcare cu ieșire integrată pentru frigider de 18 A

  • Caracteristica de încărcare: IUoU
  • Pentru vehicule cu alternator inteligent (adaptat Euro 5/6)
  • Funcționare posibilă cu sau fără semnal D+
  • Siguranțe încorporate (B1, B2 și frigider)
  • Instalare plug & play necomplicată
  • Testat E2 pentru instalare în vehicule (marca E și certificat CE)
Marime:
La comanda

Durata de livrare: pana la 21 de zile

Limita stoc
Adauga in cos
Cod Produs: 821821 Ai nevoie de ajutor? 0747 820 524 / 0741190797
Adauga la Favorite Cere informatii
  • Descriere
  • Review-uri (0)
Amplificatorul de încărcare a bateriei de la Carbest cu ieșire de 25 sau 40 A vă încarcă rapid și fiabil bateria de la bord sau a doua baterie în timpul conducerii. Caracteristica de încărcare IUoU furnizează bateriei cu curent constant și o tensiune coordonată. Odată ce tensiunea finală de încărcare a fost atinsă, are loc trecerea la încărcarea de curent. Aceasta compensează auto-descărcarea bateriei. Un frigider cu absorbție sau cu compresor poate fi alimentat direct de la amplificatorul de încărcare prin ieșirea specială, integrată, de 18 A pentru frigider. Protecție integrată la subtensiune  precum și protecție la inversarea polarității
Alte specificatii:
  • Interval de temperatură de funcționare: +10°C până la +50°C
  • 1 amplificator de încărcare
Lungime: 200 mm
Greutate: 1,1 kg
Tip baterie: Acid de plumb / AGM / Gel / LiFePo4
Vezi mai mult Informatii conformitate produs
Daca doresti sa iti exprimi parerea despre acest produs poti adauga un review.

Review-ul a fost trimis cu succes.

Compara produse

Trebuie sa mai adaugi cel putin un produs pentru a compara produse.

A fost adaugat la favorite!

A fost sters din favorite!